L J Q系列 鐘 罩 氣 體 標 準 裝 置(鐘罩計量器)使 用 說 明 書
天津市新聯儀表設備有限公司
13001379761 022-86872235 86872236
一 概述
LJQ系列鐘罩式氣體流量標準裝置(以下簡稱鐘罩),是一種能夠在規定的范圍內設定工作壓力,且在恒定壓力的條件下,輸出標準容積量氣體的計量裝置。依據國家檢定規程JJG577-2012.生產制造。
鐘罩是檢定氣體流量表的標準裝置,用于以下儀表的校驗檢定:
煤氣表、轉子流量計、渦輪流量計、渦街流量計、羅茨流量計、小型孔板節流裝置及其他形式的氣體流量計。還可用于肺活量測量儀的標定。
二 特點
1 采用中壓風機直吹提升鐘罩量筒的方式,上升平穩且噪聲小。
2 設計了動態配重補償,革除了傳統的象限補償裝置,簡化了結構、減少了占用空間。
3 采用高精度光電旋轉編碼器,量筒位移分辨率達到0.05mm,容積量分辨率達到0.01%
4 鐘罩工作壓力可達6 kPa, 有利于提高流量范圍。
5配套ZKY—2000型鐘罩控制儀,檢測氣體流量計時,可實現溫、壓補償,輸出顯示工態或標態瞬時流量及累計流量。
三 技術參數
1 精 確 度 0.5級 0.2級
2 公稱容積 20 50 100 200 500 1000 2000 L
3 工作壓力 1.5 3.0 6.0 kPa
4 允許壓力波動 50 20 Pa
5 使用環境
環境溫度 20 ℃ ± 5℃ 相對濕度 ≤ 85 %
大氣壓力 80 kPa ~ 106 kPa 電源電壓 AC 220V ± 22V
四 工作原理
鐘罩是以量筒內有效容積作為標準體積, 液槽內充有水或油作為密封液,使量筒內部空間與外界隔離。當量筒下降時,排出的氣體,經測試管流經被檢燃氣表, 比較鐘罩排出的標準氣體流量與被檢表顯示的流量,確定儀表的精度。鐘罩量筒內的氣體壓力是由鐘罩量筒重量和配重砣決定的,通過改變配重可以調整鐘罩的工作壓力, 鐘罩還設計了補償機構使工作壓力不隨鐘罩量筒浸入密封液深度而變化,保證了鐘罩量筒內工作壓力的恒定。
打開風機和進氣閥,由于風機的輸出風壓高于量筒內壓,因此空氣被壓入量筒內腔,使量筒升高,直到上限位置。
經過一段時間,待量筒和液槽內液面穩定之后,便可打開排氣閥,向被檢流量表排氣。量筒的內截面積經檢測是已知,且固定不變的。所以只需確定量筒的降落高度,即可精確的得到實際排出氣體的容積量。
隨著排氣過程中量筒不斷下降,浸入密封液的部分增加,使量筒受到浮力漸增,為使量筒內壓力穩定,鐘罩采用了鏈條動態配重補償的方法,確保在整個排氣過程中鐘罩量筒內的壓力恒定不變。
排氣量的控制:
1 手動啟閉排氣閥,讀取標尺刻度,計算量筒的降落高度,確定排氣量。
2 配套本公司的ZKY—20型鐘罩控制儀,加裝進、排氣電磁閥、旋轉光電編碼器,進行自動控制和檢測排氣量(詳見控制儀說明書)。

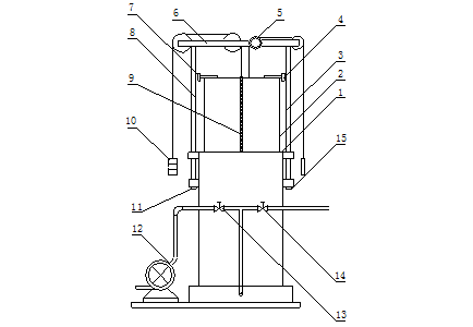
1、外筒 2、量筒 3、8導柱 4、7 導向板 5、光電旋轉編碼器
6、橫支架 9、標尺 10、配重砣 11、15導柱調節螺塞 12、充氣風機
13、進氣閥 14、排氣閥
五 安裝與調試
1 氣體標準計量器落座在工作位置后,首先調整地腳螺絲,使外筒與地面垂直。
2 利用導柱調整螺塞,使上橫與地面平行。
3 調整導向板與導柱間隙為1—2mm之間,大鐘罩則間隙稍大。
4 先關閉進氣閥和排氣閥,向鐘罩外筒充灌密封液至1/3左右 ,密封液通常用白油等低粘度油
5 測量鐘罩量筒內工作壓力,通過改變配重達到設定值。然后繼續加液,直至液位指示器的液位距液槽上沿60—100mm。(帶有內壓時)
六、使用和維護
1、氣體計量器應在20℃±2℃的恒溫室中使用。
2、氣體計量器在工作時量筒內氣溫、室溫、密封液溫度差,不應超過1℃。
3、量筒每次提升后應穩定一段時間后再進行檢定,以保證計量準確度。
七、型號規格尺寸
|
型 號 |
規格(升) |
外型尺寸 |
壓力上限
Pa |
流量測量
上限
m/h3 |
|
長×寬×高 |
|
LJQ—10 |
10 |
250×250×1600
350×350×2600 |
1500
6000 |
0.6 |
|
LJQ—20 |
20 |
350×350×1600
450×450×2600 |
1500
6000 |
1.2 |
|
LJQ—50 |
50 |
400×400×1800
500×500×2650 |
1500
6000
1500
3000
1500
3000 |
3 |
|
LJQ—100 |
100 |
600×500×2650
600×500×2800 |
6.0 |
|
LJQ—200 |
200 |
800×700×2700
800×700×2900 |
12 |
|
LJQ—500 |
500 |
1100×1000×2900
1100×1000×3100 |
1500
3000 |
30 |
|
LJQ—1000 |
1000 |
1600×1200×4300 |
1500
3000 |
60 |
|
LJQ—2000 |
2000 |
1700×1400×5600 |
1500
3000 |
120 |
|
LJQ-10000 |
10000 |
3600×2890×8900 |
1500 |
600 |
八、 附:ZKY—2000鐘罩控制儀主要技術參數
1 控制儀精度 0.1級 重復性 0.05% 分辨率 0.01%
2 裝置整體精度 0.5、0.2級(主要取決于鐘罩計量器)
3 設有四—八個模擬通道 可以測量:鐘罩量筒內壓力、溫度、檢測點壓力、溫度、被校表壓力損失等參量。(溫度、壓力檢測單元自選)
4檢測氣體流量計時,可實現溫、壓補償,輸出顯示工態或標態瞬時流量及累計流量。
5排氣量設定 可任意設定五個大小不同的排氣量。單位為升 。
6工作環境 相對濕度 85% 溫度 0--55℃ (通常實驗室20±2℃)
7外形尺寸 300x300x100 mm